WWW..羞羞漫画.COM股份

咨询服务热线: 15222906608
仪表电缆自动化成套 压力羞羞答答视频\差压羞羞答答视频\温度羞羞答答视频\液位羞羞答答视频等
banner

热门关键字:

您的位置: 主页 > 男女羞羞免费网站动态

全国服务热线

15222906608
23(s)Y/25Y系列通用型压力羞羞答答视频

23(s)Y/25Y系列通用型压力羞羞答答视频

产品概述: Y系列压力羞羞答答视频具有小的温度误差,这是通过使用包含温度传感器的附加电路将温度变化分成宽度为1.5K的几个单元来实现的。每个单元之间的零...
麦德林智能压力羞羞答答视频在液位测量中的扩展应用

麦德林智能压力羞羞答答视频在液位测量中的扩展应用

应用麦德申单晶硅智能压力羞羞答答视频测量液位有其独特的特点。对于温度变化引起的液位偏差,可以根据密度与温度的对应关系,通过温度补偿计算,间接换...
LEEG单晶硅压力羞羞答答视频新产品发布,敬请期待!

LEEG单晶硅压力羞羞答答视频新产品发布,敬请期待!

再过一个月,上海传感器博览会(传感器中国博览会& 2019年会议,中国(上海)国际传感器技术与应用展览会),国内盛会,上海李哥将发布LEEG单晶硅压力变送...
河流仪表电解槽入口电流DC电压压力羞羞答答视频的求解

河流仪表电解槽入口电流DC电压压力羞羞答答视频的求解

在此期间,河表将响应电解池入口的DC电压压力羞羞答答视频法兰。 大家好,在WWW..羞羞漫画.COM单元电解槽的入口液相压力羞羞答答视频法兰处有一个约200伏的DC电压。你曾经遇到...
LD 3851d p4s 222 B3 m3 D2 压力羞羞答答视频

LD 3851d p4s 222 B3 m3 D2 压力羞羞答答视频

很荣幸向您推荐淮安润泰仪器有限公司的重点产品之一,如有任何需求或建议,请联系WWW..羞羞漫画.COM,电话:182-5232-8676 产品介绍 用于测量液体、气体或蒸汽的液位、...
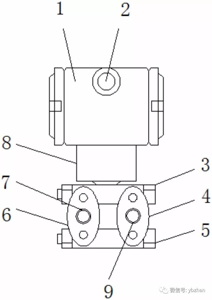
本发明涉及一种智能羞羞答答视频

本发明涉及一种智能羞羞答答视频

创造力是无限的,仪器是伟大的发明。今天,我介绍一项国家发明专利——智能发射器。该专利由江苏菲尔德自动化仪器有限公司申请,并于2018年7月24日公...
网站地图